• Каталог продукции
  • О компании
  • Поддержка
  • OwenCloud
  • Учебный центр
  • Форум
  • Профиль
  • УТ24 таймер цифровой двухканальный

    Микропроцессорное реле времени ОВЕН УТ24 в щитовом корпусе Щ1
    Дискретные входы n-p-n типа
    Дискретные входные сигналы
    Гарантийный срок 2 года
    Таймер
    Релейные выходы
    Номинальное напряжение питания 230В
    Задать вопрос специалисту
    7 649,40
    Выбрать и заказать

    Технические характеристики

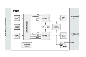
    Функциональная схема прибора

    Функциональная схема ОВЕН УТ24

    Модификации

    Элементы управления

    Схемы подключения

    FAQ

    Чертежи, схемы, модели

    Документация

    Проекты

    Комплектность

    Цены

    Новости

    Сопутствующие товары

    Задать вопрос специалисту

    Используем куки и рекомендательные технологии
    Это чтобы сайт работал лучше. Оставаясь с нами, вы соглашаетесь на использование файлов куки.
    OK
    Товар добавлен!
    Модификация:
    Цена:  ₽ ( ₽ за . Кратность отгрузки:  .)
    Продолжить выбор
    Перейти к оформлению